Walter Frank Spencer Woods
Rank: Gunner.
Service Number: 953121
Date of Birth: 14 Jan 1918
Regiment: 67 Medium Regiment, Royal Artillery
Date of Death: 14 November 1942
Age at death: 24
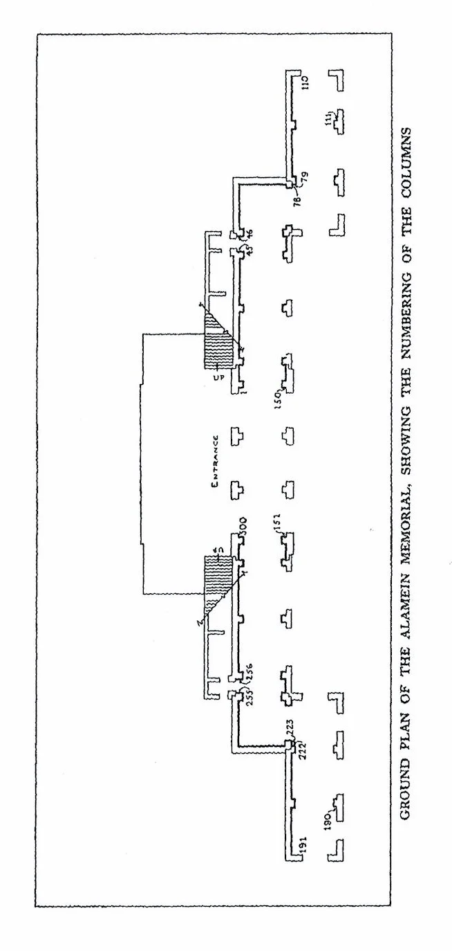
Cemetery / Memorial: Alamein Memorial
Country: Egypt
Grave / Reference: Column 38, Land Forces, Royal Regiment of Artillery
Relatives: Son of Ernest Spencer and Blanche Rose Woods (nee Harvey)
Address: 76 Angel Street, Hadleigh, Suffolk.
Walter Frank Spencer Woods was born in Hadleigh in 1918. At the time of the 1939 National Register (a mini census) he was living at 76 Angel Street with his parents and older sister Eva, who later married a Munson. His older brother Ernest had left the family home by then. Walter’s father worked as a decorator, but Walter was employed as a foundry worker.
The regiment was equipped with medium-calibre guns (typically 5.5-inch or 4.5-inch guns) designed for supporting infantry and armoured divisions at greater distances than field artillery.
During this phase of the war, the advantage in the Western Desert, lay with the German Afrika Corps and their Italian partners, under the command of the legendary German General, later to become Field Marshall Erwin Rommel.
The German and Italian forces had surrounded and cut off allied forces in the strategically important port town of Tobruk, on the Lybian coastline. Control of this deep water port was fiercely contested between the allies and the axis forces.
It was hoped that the defenders, including Len’s Regiment could hold Tobruk at least until a larger relief force could be sent from the British military stronghold of Egypt. But preparing such force would take some time.
Initially reported as missing
It was estimated that the SS Scillin was carrying 814 POWs, mostly British and most of these were locked in the hold. Only 27 POWs survived. Over 760 British POWs and some Italian guards were lost.
It is thought that Walter Woods and one other Hadleigh man from the same regiment, Len Green, were lost at this time.
In the aftermath of the war this incident was classified by the British and families were simply told that the relatives were lost at sea. Full disclosure did not come out until decades later when researchers and historians pieced together records. The SS Scillin incident is now considered to be one of the worse friendly fire maritime disasters of WW2.
Walter would have been entitled to the above medals; the 1939-1945 Star, the Africa Star (With 8th Army Clasp) and the 1939-1945 War Medal.
Gunner. Len Green RA
As the country edged towards another European war in 1939 there was a drive to increase the size of the armed forces. The existing Territorial Army (TA) was to be duplicated in order to double its size.
67th Medium Regiment was raised in 1939 as a duplicate of 58th (Suffolk) Medium Regiment R.A. (T.A.) (part of the doubling of the TA in 1939). The regiment comprised of HQ, 232 Battery (Ipswich) and 231 Battery (Woodbridge and Felixstowe) and men were generally recruited from around South West Suffolk.
We are not exactly sure how and when Walter joined the army, but we do know that he ended up joining the 67 Medium Regiment and so we suspect this was shortly after the outbreak of the war.
On the outbreak of war, the Regiment served in defence of south east England against enemy attack. The Regiment was sent to North Africa in July 1941 to join the Eighth Army as part of the Operation Crusader, an operation to relieve the siege of Tobruk and push back the axis forces.
Eighth Army
In the meantime Rommel decided to launch his own devastating attack on 20 June 1942 on the town and despite some fierce fighting the garrison was quickly overwhelmed and surrendered on the 21 June 1942. This was a humiliating defeat for the allies, only second to the disaster seen at Singapore.
Walter’s entire Regiment was captured in Tobruk on 21st June 1942. On surrender, the men became prisoners of the Italy army and were transferred to Italian POW camps. While many of Walter’s comrades made it to the Italian POW camps Walter was not so lucky.
The SS Scillin was an Italian cargo ship being used to transport Allied POWs, mainly British, from Tobruk to Italy on 14 November 1942. The ship was unmarked and did not bear the Red Cross marker in line with the Geneva convention. The ship was spotted and subsequently sunk by a British submarine, HMS Sahib and it sank in minutes.
HMS Salib
CWGC Cemetery at El Alamein
Walter Woods was lost at sea and his body was never recovered. He is remembered with honour on the memorial wall at the El Alamein Commonwealth War Graves Commission cemetery.
CWGC Cemetery at El Alamein
